La valvola di sicurezza filettata a sollevamento totale funge da meccanismo di sicurezza fondamentale utilizzato in diversi settori per salvaguardare apparecchiature critiche, tubazioni complesse e sistemi complessi da pericolose situazioni di sovrapressione.
La pressione nominale delle valvole copre ANSI da CL150 a CL1500 e da PN16 a PN260, consentendo loro di resistere a un'ampia gamma di pressioni di esercizio.

Vantaggi
1.Rilascio rapido della pressione: il design a sollevamento completo consente un'apertura rapida e completa della valvola, facilitando il rapido scarico della pressione in eccesso dal sistema per prevenire sovrapressurizzazione e potenziali danni.
2. Installazione semplice: la connessione filettata della valvola consente un'installazione facile e diretta su uscite o raccordi filettati, riducendo i tempi e gli sforzi di installazione.
3. Efficacia in termini di costi: queste valvole offrono una soluzione economica per la protezione da sovrapressione, garantendo un funzionamento efficiente e affidabilità a lungo termine senza richiedere complesse procedure di installazione o manutenzione.
Conformità agli standard
Progettazione e produzione: GB/T 12241-2005, GB/T 12243-2005
Faccia a faccia (da un capo all'altro): JB/T 2203-1999
Test e ispezione: GB/T 12243-2005
Codice ASME per caldaie e recipienti a pressione, standard API, specifiche ISO.
Installazione e messa in servizio
1.Assicurarsi che la valvola sia installata con un orientamento verticale, come specificato dal produttore, per facilitare le prestazioni ottimali.
2.Verificare che l'uscita filettata o il raccordo su cui verrà installata la valvola sia pulito, liscio e privo di danni.
3.Verificare che la valvola sia della dimensione e del tipo corretti per l'applicazione prevista e le condizioni operative.
4.Allineare con attenzione la valvola con l'uscita filettata o il raccordo e serrare a mano la connessione per evitare una filettatura incrociata.
5.Applicare pressione al sistema per simulare una condizione di sovrapressione e osservare la risposta della valvola, assicurandosi che si apra completamente e scarichi la pressione come previsto.
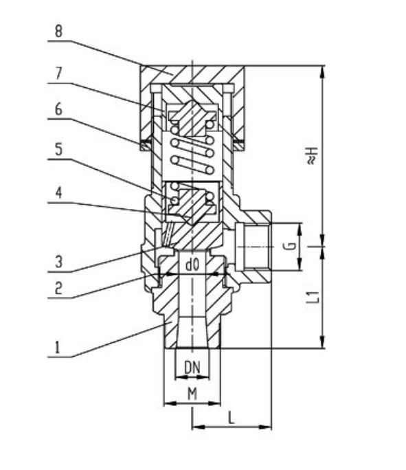
Materiale per le parti principali
|
NO |
Nome della parte |
Materiali A42H-C |
Materiali A42Y-P |
Materiali A42Y-R |
|
1 |
Corpo |
WCB |
CF8 |
CF8M |
|
2 |
Ugello |
2Cr13/304 |
CF8 |
CF8M |
|
3 |
Anello di regolazione |
2Cr13/304 |
304 |
316 |
|
4 |
Disco |
2Cr13/304 |
304 |
316 |
|
5 |
Manicotto guida |
2Cr13/304 |
304 |
316 |
|
6 |
Cofano |
WCB |
CF8 |
CF8M |
|
7 |
Primavera |
ASTM 6150 |
ASTM 6150 rivestito in teflon |
ASTM 6150 rivestito in teflon |
|
8 |
Stelo |
2Cr13 |
304 |
316 |
|
9 |
Bullone di regolazione |
45 |
2Cr13 |
2Cr13 |
|
10 |
Cap |
A126 |
CF8 |
CF8M |
|
11 |
Soffietto |
304 |
316 |
316 |
Etichetta sexy: valvola di sicurezza con filettatura a sollevamento completo, produttori di valvole di sicurezza con filettatura a sollevamento completo in Cina, fornitori, fabbrica, Bilancia Valvola di sicurezza del tipo sotto, Valvola di sicurezza in bronzo, Alta temperatura e alta pressione con valvola di sicurezza del radiatore, Valvola di sicurezza del tipo di rivestimento, Valvola di sicurezza pressione di riflusso parallelo, Valvola di sicurezza SS











